作者:艾佛森贝博ballbet官网日期:2026-02-23浏览:来源:艾弗森ballbet

国家知识产权局信息显示,盐城奥凯明通阀门有限公司申请一项名为“一种平板闸阀阀板阀座自动配磨工艺与系统”的专利,公开号CN121491859A,申请日期为2025年11月。
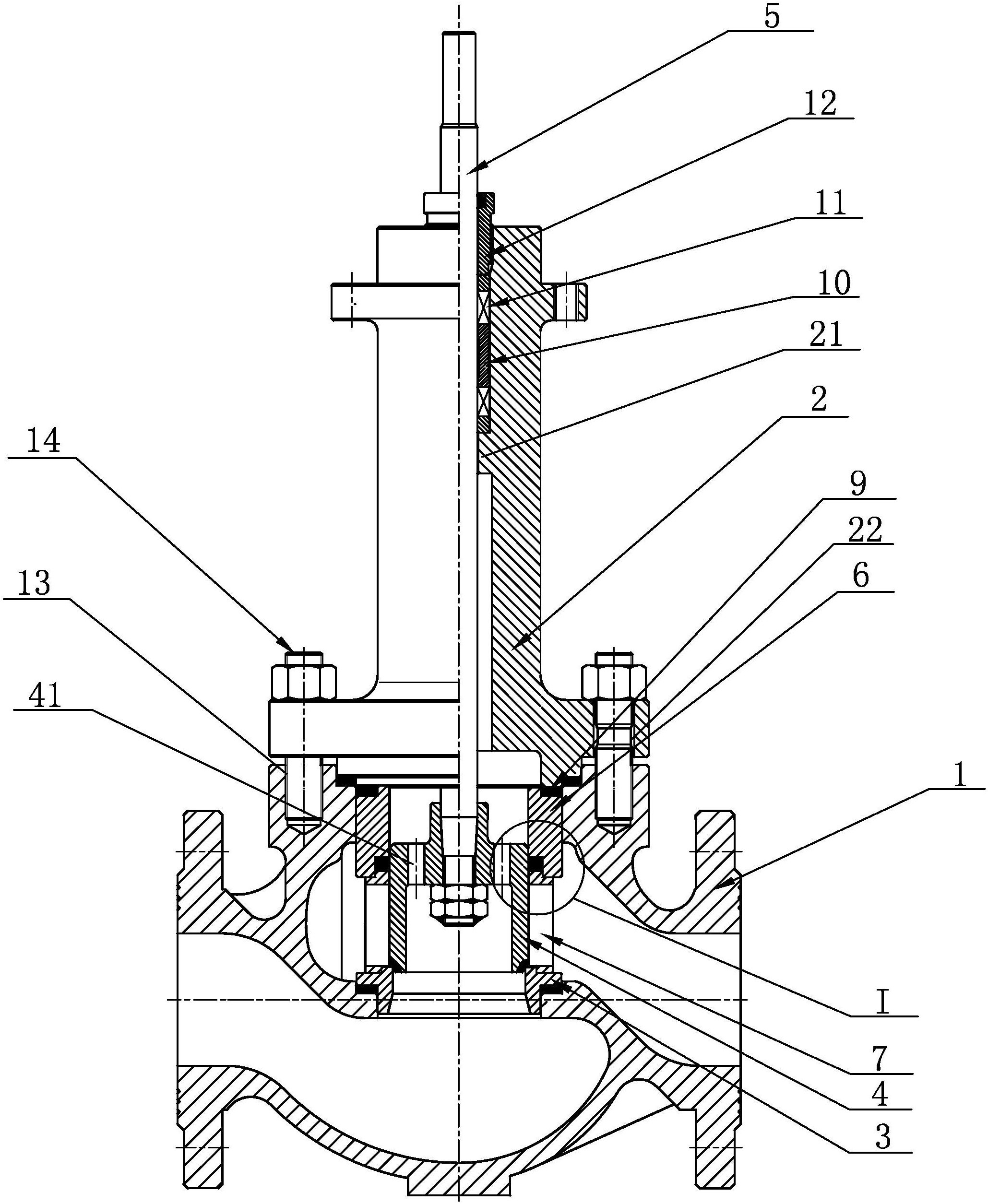
专利摘要显示,本发明涉及平板闸阀技术领域,且公开了一种平板闸阀阀板阀座自动配磨工艺与系统,包括以下步骤:预处理,选取平板闸阀的阀板和阀座,阀板和阀座的材料为不锈钢或合金钢,对其进行脱脂、清洗和干燥;配磨液制备,对配磨液进行制备;本发明中,自动配磨系统通过集成多轴工业机器人、高精度配磨盘及多维传感器组,并由PLC控制器进行集中闭环控制,能够实时调控阀板与阀座之间的接触压力与相对运动轨迹,保证配磨力在密封面上均匀分布,运动轨迹严格按预设路径执行,避免了因人工操作不确定性导致的压力不均与轨迹偏差,保证了阀板与阀座密封面的高精度吻合,提升平板闸阀的密封可靠性。
天眼查资料显示,盐城奥凯明通阀门有限公司,成立于2007年,位于盐城市,是一家以从事专用设备制造业为主的企业。企业注册资本10600万人民币。通过天眼查大数据分析,盐城奥凯明通阀门有限公司共对外投资了1家企业,参与招投标项目58次,财产线条,此外企业还拥有行政许可84个。
声明:市场有风险,投资需谨慎。本文为AI基于第三方数据生成,仅供参考,不构成个人投资建议。
下一篇:具体公开了一种便捷式搬运装置