[0006]进一步地

作者:艾佛森贝博ballbet官网日期:2026-02-08浏览:来源:艾弗森ballbet

  

[0006]进一步地

  本实用新型提供了一种阀座,阀座具有阀腔,阀座上设置有第一连接口和第二连接口,第一连接口和阀腔连通,阀座上还设置有顺次连通的阀口和第一过渡孔段,阀口与阀腔连通,第一过渡孔段具有相对设置的第一端和第二端,第一端与阀口连通,第二端与第二连接口连通,第一过渡孔段为锥形结构,第一端的孔径小于第二端的孔径,第一过渡孔段的锥角的角度在15°至60°之间。通过本申请提供的技术方案,可以解决现有技术中电子膨胀阀工作时产生流体噪声的问题。

  1.一种阀座,其特征在于,所述阀座具有阀腔(10),所述阀座上设置有第一连接口(20)

  和第二连接口(30),所述第一连接口(20)和所述阀腔(10)连通,所述阀座上还设置有顺次

  连通的阀口(40)和第一过渡孔段(50),所述阀口(40)与所述阀腔(10)连通,所述第一过渡

  孔段(50)具有相对设置的第一端(51)和第二端(52),所述第一端(51)与所述阀口(40)连

  通,所述第二端(52)与所述第二连接口(30)连通,所述第一过渡孔段(50)为锥形结构,所述

  第一端(51)的孔径小于所述第二端(52)的孔径,所述第一过渡孔段(50)的锥角的角度在

  2.根据权利要求1所述的阀座,其特征在于,所述第一过渡孔段(50)的孔径大于或等于

  3.根据权利要求1所述的阀座,其特征在于,所述第一端(51)的孔径在2.5mm至5mm之

  4.根据权利要求1所述的阀座,其特征在于,所述第一过渡孔段(50)沿轴向的长度在

  5.根据权利要求1所述的阀座,其特征在于,所述阀座上还设置有第二过渡孔段(60),

  所述第二过渡孔段(60)的一端与所述第二端(52)连通,所述第二过渡孔段(60)的另一端形

  6.根据权利要求5所述的阀座,其特征在于,所述第二过渡孔段(60)沿轴线方向的孔径

  7.根据权利要求5所述的阀座,其特征在于,所述第二过渡孔段(60)的孔径等于所述第

  8.根据权利要求5所述的阀座,其特征在于,所述第二过渡孔段(60)的外径小于第一过

  9.根据权利要求1所述的阀座,其特征在于,所述阀口(40)的沿轴向的长度在0.5mm至

  10.根据权利要求1所述的阀座,其特征在于,所述阀口(40)两端的端口处开设有倒角。

  11.根据权利要求10所述的阀座,其特征在于,所述倒角的尺寸在C0.05mm至C0.15mm之

  [0002]电子膨胀阀作为一种新型的控制元件,已成为制冷系统智能化的重要组成部分。

  电子膨胀阀包括底座、导向套和阀针,底座具有阀腔,阀腔内设置有阀口,导向套与阀座固

  定配合,且导向套与阀口相对设置,阀针可移动地设置在导向套内,阀针部分穿过导向套并

  位于阀腔内,阀针用于控制阀口的开启以及闭合。但是现有的电子膨胀阀,其阀口处容易产

  生较大涡流,当电子阀工作的过程中,容易产生流体噪声,影响用户的使用体验。

  [0003]本实用新型提供一种阀座,以解决现有技术中的电子膨胀阀工作时产生流体噪声

  [0004]本实用新型提供了一种阀座,阀座具有阀腔,阀座上设置有第一连接口和第二连

  接口,第一连接口和阀腔连通,阀座上还设置有顺次连通的阀口和第一过渡孔段,阀口与阀

  腔连通,第一过渡孔段具有相对设置的第一端和第二端,第一端与阀口连通,第二端与第二

  连接口连通,第一过渡孔段为锥形结构,第一端的孔径小于第二端的孔径,第一过渡孔段的

  [0005]应用本实用新型的技术方案,该阀座包括阀腔、第一连接口、第二连接口、阀口以

  及第一过渡段。其中,第一过渡段为锥形结构,第一端的孔径小于第二端的孔径,如此能够

  使得流体流经的通道的直径逐渐增大,不会出现突变的情况,同时第一过渡段的容积增大,

  减少流体涡流湍流的产生,使得流体能够平缓稳定地流动,由此可以减少流体噪声的产生;

  [0006]进一步地,第一过渡孔段的孔径大于或等于阀口的孔径。第一过渡孔段的容积大

  于阀口的容积,可提高流量,保证流体流动的顺畅性以及稳定性,以进一步减少流体湍流涡

  [0007]进一步地,第一端的孔径在2.5mm至5mm之间,上述设置能够使得流体流通顺畅,避

  [0008]进一步地,第一过渡孔段沿轴向的长度在0.8mm至5mm之间,上述设置使得阀座在

  [0009]进一步地,阀座上还设置有第二过渡孔段,第二过渡孔段的一端与第二端连通,第

  二过渡孔段的另一端形成第二连接口。通过上述结构能够利用第二过渡孔段进一步控制流

  [0010]进一步地,第二过渡孔段沿轴线方向的孔径相同,即第二过渡孔段设计为圆柱形

  [0011]进一步地,第二过渡孔段的孔径等于第二端的孔径,如此能够避免流体在从第二

  [0012]进一步地,第二过渡孔段的外径小于第一过渡孔段的外径,如此方便外部管路与

  [0013]进一步地,阀口的沿轴向的长度在0.5mm至2mm之间,通过上述设置能够使流体快

  [0014]进一步地,阀口两端的端口处开设有倒角,上述结构可以有效去除阀口加工产生

  [0015]进一步地,倒角的尺寸在C0.05mm至C0.15mm之间,上述范围能够有效去除翻边毛

  [0016]构成本申请的一部分的说明书附图用来提供对本实用新型的进一步理解,本实用

  新型的示意性实施例及其说明用于解释本实用新型,并不构成对本实用新型的不当限定。

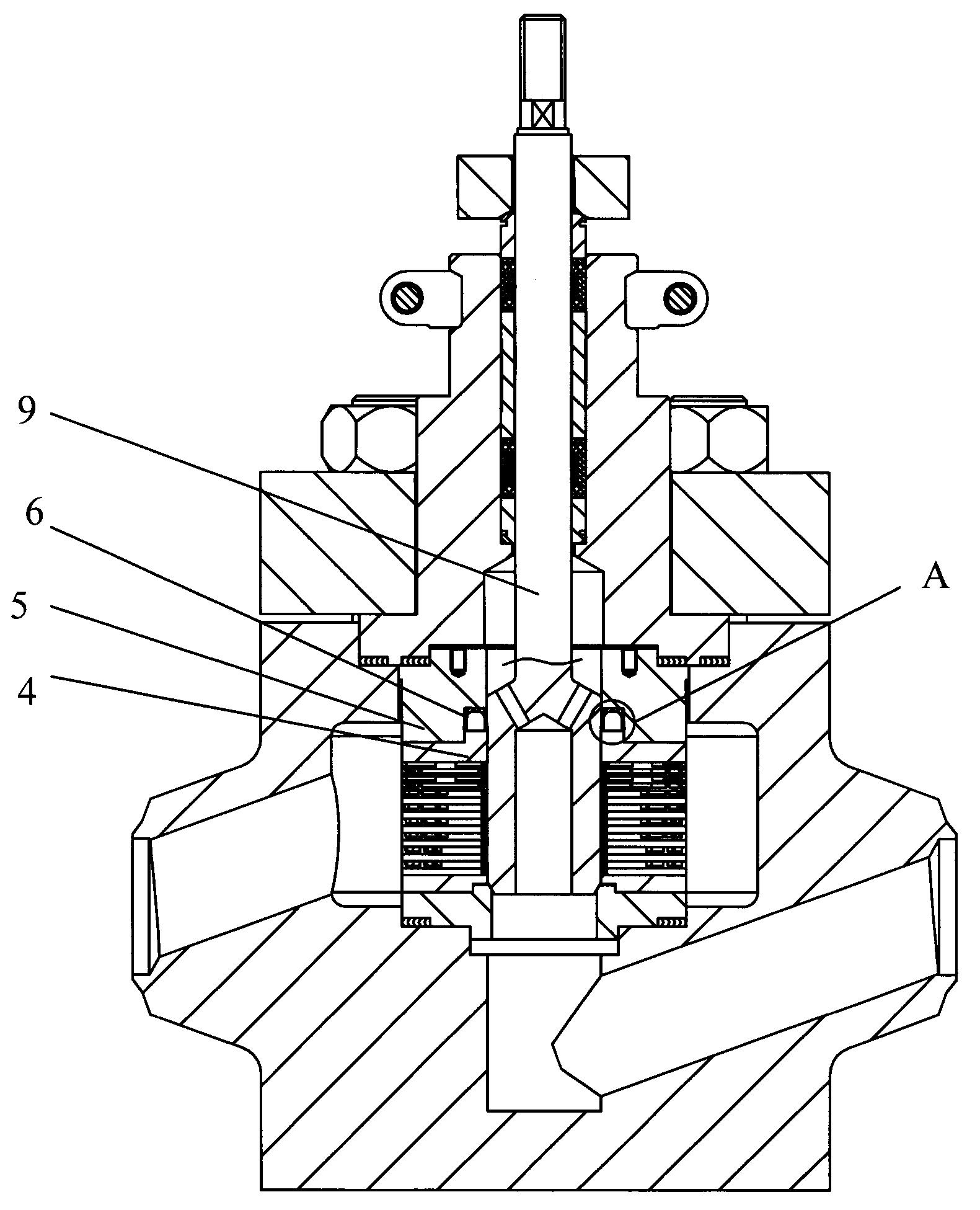
  [0021]10、阀腔;20、第一连接口;30、第二连接口;40、阀口;50、第一过渡孔段;51、第一

  [0022]下面将结合本实用新型实施例中的附图,对本实用新型实施例中的技术方案进行

  清楚、完整地描述,显然,所描述的实施例仅仅是本实用新型一部分实施例,而不是全部的

  实施例。以下对至少一个示例性实施例的描述实际上仅仅是说明性的,决不作为对本实用

  新型及其应用或使用的任何限制。基于本实用新型中的实施例,本领域普通技术人员在没

  有作出创造性劳动前提下所获得的所有其他实施例,都属于本实用新型保护的范围。

  [0023]如图1至图3所示,本实用新型实施例提供一种阀座,该阀座具有阀腔10,阀座上设

  置有第一连接口20和第二连接口30,第一连接口20和阀腔10连通,阀座上还设置有顺次连

  通的阀口40和第一过渡孔段50,阀口40与阀腔10连通,第一过渡孔段50具有相对设置的第

  一端51和第二端52,第一端51与阀口40连通,第二端52与第二连接口30连通,第一过渡孔段

  50为锥形结构,第一端51的孔径小于第二端52的孔径,第一过渡孔段50的锥角的角度在15°

  至60°之间。具体地,第一过渡孔段50的锥角的角度为a,a可以为15°、45°或60°。本实施例

  [0024]应用本申请的技术方案,该阀座包括阀腔10、第一连接口20、第二连接口30、阀口

  40以及第一过渡孔段50。其中,第一过渡孔段50为锥形结构,第一端51的孔径小于第二端52

  的孔径,如此能够使得流体流经的通道的直径逐渐增大,大大减少出现突变的情况,同时第

  一过渡段的容积增大,能够减少流体涡流湍流的产生,使得流体能够平缓稳定地流动,由此

  [0025]其中,当第一过渡孔段50的锥角小于15°时,角度过小,流体流入时易产生较大突

  变,其过渡性差,易产生湍流,进而会流体流动过程中产生噪声;当第一过渡孔段50的锥角

  角度大于60°时,会减弱第一过渡孔段50的内壁对于流体的引流作用,进而无法对流体进行

  缓冲。因此,将第一过渡孔段50的锥角的角度设置在15°至60°之间,能够对流体起到良好的

  [0026]具体地,第一过渡孔段50的孔径大于或等于阀口40的孔径。第一过渡孔段50的容

  积大于阀口40的容积,可提高流量,保证流体流动的顺畅性以及稳定性,以进一步减少流体

  湍流涡流的产生。若第一过渡孔段50孔径的小于阀口40的孔径,流体流动时直径骤然减小,

  [0027]具体地,第一端51的孔径在2.5mm至5mm之间。若第一端51的孔径小于2.5mm,则容

  易造成流体在第一端51处堆积,不利于流体的流动,容易产生噪声;若第一端51的孔径大于

  5mm,第一过渡孔段50设计为锥形结构,第一端51过大会造成第一过渡孔段50过大,增加阀

  座的体积,不利于阀座的使用。具体地,第一端51的孔径为D,D可以为2.5mm、3.5mm或5mm。本

  [0028]具体地,第一过渡孔段50沿轴向的长度在0.8mm至5mm之间。当第一过渡孔段50的

  轴向长度小于0.8mm时,第一过渡孔段50的容腔减小,不能保存较多流体,会造成流体堆积,

  使流体的流速与压力产生变化,进而容易产生涡流与湍流;当第一过渡孔段50的长度大于

  5mm时,则阀座的整体尺寸较大。因此,将第一过渡孔段50的轴向长度设置在0.8mm至5mm之

  间,使得阀座在满足减少湍流涡流、减少噪声的同时尽可能减小了阀座的整体尺寸。具体

  地,第一过渡孔段50沿轴向的长度为H1,H1可以为0.8mm、3mm或5mm。本实施例中,H1为4mm。

  [0029]进一步地,阀座上还设置有第二过渡孔段60,第二过渡孔段60的一端与第二端52

  连通,第二过渡孔段60的另一端形成第二连接口30。第二过渡孔段60与第二端52连通,流体

  流经第一过渡孔段50后进入第二过渡孔段60,能够利用第二过渡孔段60进一步控制流体的

  流速与压力,保证流体流动的通畅性,流体流经第二过渡孔段60后,能够平稳顺畅地从第二

  [0030]在本实施例中,第二过渡孔段60沿轴线方向的孔径相同,即第二过渡孔段60设计

  为圆柱形孔,能够通过圆柱形孔维持流体的流速与压力,使得流体流动更为通畅,进一步减

  [0031]其中,第二过渡孔段60的孔径可以等于第二端52的孔径,也可大于第二端52的孔

  径。在本实施例中,第二过渡孔段60的孔径等于第二端52的孔径,如此能够避免流体在从第

  [0032]进一步地,第二过渡孔段60的外径小于第一过渡孔段50的外径,如此方便外部管

  路与第二连接口30进行连接,使外部管路能够顺利插接在第二连接口30上,保证二者之间

  [0033]具体地,阀口40的沿轴向的长度在0.5mm至2mm之间,通过上述设置能够保证阀针

  和阀口40的同轴度。当阀口40的沿轴向的长度小于0.5mm时,阀针在上下移动过程中容易与

  阀口40发生磨损,如此会减少阀针的使用寿命;当阀口40的沿轴向的长度大于2mm时,流体

  流经阀口40的速度受到影响,将导致流体流经阀口40的密封线后产生较大的压降,影响流

  体流动的顺畅性。因此,在本申请中,将阀口40的沿轴向的长度在0.5mm至2mm之间,以在保

  证阀针与阀口40的同轴度的同时减小阀针磨损,延长阀针的使用寿命,保证流体流动的顺

  畅性。具体地,阀口40的沿轴向的长度为H2,其中H2可以为0.5mm、1mm或2mm。本实施例中,H2

  [0034]进一步地,阀口40两端的端口处开设有倒角,通过上述设计可以有效去除阀口40

  [0035]具体地,倒角的尺寸可以设计在C0.05mm至C0.15mm之间,当倒角的尺寸小于

  C0.05mm时,无法有效去除翻边毛刺,进而当流体流经阀口40时会产生较大的噪声;当倒角

  的尺寸大于C0.15mm时,会减小阀口40的长度尺寸,进而会影响阀口40与阀针的同轴度。因

  此将倒角的尺寸设置在C0.05mm至C0.15mm之间,能够在有效去除毛刺的同时保证阀口40与

  阀针的同轴度,降低流体流经阀口40时产生的噪声。具体地,倒角的尺寸可以为C0.05mm、

  [0036]在本技术方案中,在阀口40的下方设计第一过渡孔段50,其能够减少流通通道横

  截面积突变产生的阻力,保证流体流通的通畅性,减少湍流涡流的产生;在第一过渡孔段50

  下方设计与第二端52孔径相同的第二过渡孔段60,能够维持流体的稳定流动,使其流通更

  [0037]需要注意的是,这里所使用的术语仅是为了描述具体实施方式,而非意图限制根

  据本申请的示例性实施方式。如在这里所使用的,除非上下文另外明确指出,否则单数形式

  也意图包括复数形式,此外,还应当理解的是,当在本说明书中使用术语“包含”和/或“包

  [0038]除非另外具体说明,否则在这些实施例中阐述的部件和步骤的相对布置、数字表

  达式和数值不限制本实用新型的范围。同时,应当明白,为了便于描述,附图中所示出的各

  个部分的尺寸并不是按照实际的比例关系绘制的。对于相关领域普通技术人员已知的技

  术、方法和设备可能不作详细讨论,但在适当情况下,所述技术、方法和设备应当被视为授

  权说明书的一部分。在这里示出和讨论的所有示例中,任何具体值应被解释为仅仅是示例

  性的,而不是作为限制。因此,示例性实施例的其它示例可以具有不同的值。应注意到:相似

  的标号和字母在下面的附图中表示类似项,因此,一旦某一项在一个附图中被定义,则在随

  [0039]在本实用新型的描述中,需要理解的是,方位词如“前、后、上、下、左、右”、“横向、

  竖向、垂直、水平”和“顶、底”等所指示的方位或位置关系通常是基于附图所示的方位或位

  置关系,仅是为了便于描述本实用新型和简化描述,在未作相反说明的情况下,这些方位词

  并不指示和暗示所指的装置或元件必须具有特定的方位或者以特定的方位构造和操作,因

  此不能理解为对本实用新型保护范围的限制;方位词“内、外”是指相对于各部件本身的轮

  [0040]为了便于描述,在这里可以使用空间相对术语,如“在……之上”、“在……上方”、

  “在……上表面”、“上面的”等,用来描述如在图中所示的一个器件或特征与其他器件或特

  征的空间位置关系。应当理解的是,空间相对术语旨在包含除了器件在图中所描述的方位

  之外的在使用或操作中的不同方位。例如,如果附图中的器件被倒置,则描述为“在其他器

  件或构造上方”或“在其他器件或构造之上”的器件之后将被定位为“在其他器件或构造下

  方”或“在其他器件或构造之下”。因而,示例性术语“在……上方”可以包括“在……上方”和

  “在……下方”两种方位。该器件也可以其他不同方式定位(旋转90度或处于其他方位),并

  [0041]此外,需要说明的是,使用“第一”、“第二”等词语来限定零部件,仅仅是为了便于

  对相应零部件进行区别,如没有另行声明,上述词语并没有特殊含义,因此不能理解为对本

  [0042]以上所述仅为本实用新型的优选实施例而已,并不用于限制本实用新型,对于本

  领域的技术人员来说,本实用新型可以有各种更改和变化。凡在本实用新型的精神和原则

  之内,所作的任何修改、等同替换、改进等,均应包含在本实用新型的保护范围之内。

  2、成为VIP后,下载本文档将扣除1次下载权益。下载后,不支持退款、换文档。如有疑问加。

  3、成为VIP后,您将拥有八大权益,权益包括:VIP文档下载权益、阅读免打扰、文档格式转换、高级专利检索、专属身份标志、高级客服、多端互通、版权登记。

  4、VIP文档为合作方或网友上传,每下载1次, 网站将根据用户上传文档的质量评分、类型等,对文档贡献者给予高额补贴、流量扶持。如果你也想贡献VIP文档。上传文档

  中国国家标准 GB/Z 37551.300-2026海洋能波浪能、潮流能及其他水流能转换装置第300部分:河流能转换装置发电性能评估.pdf

  GB/T 44937.3-2025集成电路电磁发射测量第3部分:辐射发射测量表面扫描法.pdf

  中国国家标准 GB/T 44937.3-2025集成电路电磁发射测量第3部分:辐射发射测量表面扫描法.pdf

  《GB/T 44937.3-2025集成电路电磁发射测量第3部分:辐射发射测量表面扫描法》.pdf

  中国国家标准 GB/T 44937.1-2025集成电路电磁发射测量第1部分:通用条件和定义.pdf

  GB/T 44937.1-2025集成电路电磁发射测量第1部分:通用条件和定义.pdf

  《GB/T 44937.1-2025集成电路电磁发射测量第1部分:通用条件和定义》.pdf

  中国国家标准 GB/T 4937.37-2025半导体器件机械和气候试验方法第37部分:采用加速度计的板级跌落试验方法.pdf

  《GB/T 4937.10-2025半导体器件机械和气候试验方法第10部分:机械冲击器件和组件》.pdf

  中国国家标准 GB/T 44937.2-2025集成电路电磁发射测量第2部分:辐射发射测量TEM小室和宽带TEM小室法.pdf

  原创力文档创建于2008年,本站为文档C2C交易模式,即用户上传的文档直接分享给其他用户(可下载、阅读),本站只是中间服务平台,本站所有文档下载所得的收益归上传人所有。原创力文档是网络服务平台方,若您的权利被侵害,请发链接和相关诉求至 电线) ,上传者